Редуктор РЗ
Редуктор – задатчик РЗ применяется в качестве прибора, осуществляющего автоматическое управление регуляторами давления газа в заданном режиме. Предназначен для управления работой исполнительных устройств регуляторов давления серии РД, РДУ и РДУ-Т.
Технические характеристики
| Наименование параметра | Значение параметра |
|---|---|
| Условное давление | 10 МПа |
| Пределы настройки | 0,1 – 1,6 МПа |
| Масса, не более кг | 5,2 |
Редуктор – задатчик РЗ предназначен для эксплуатации при температуре окружающего воздуха от минус 40 до плюс 50 °С и относительной влажности воздуха 100% при температуре 25 °С. Климатическое исполнение У1 по ГОСТ 15150-69.
Рабочая среда – природный газ по ГОСТ 5542-97, не содержащий механических примесей с учетом СТО Газпром 2-4.1-212-2008.1.2.
Температура рабочей среды от минус 10 до плюс 80 °С, кратковременно до плюс 100 °С. Погрешность поддержания выходного давления не более ±5 %.
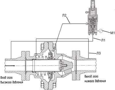
Схема соединения задающее устройства ЗУ-3 с регулятором давления типа РДУ

Состав и принцип действия

Редуктор – задатчик РЗ состоит из сборного корпуса 1, поршня 11 с клапаном 13, расположенным на его нижнем конце, управляющего клапана 10 и сбросного клапана 9, металлической мембраны 8, основной пружины 4 и регулировочного винта 6.
В нижнем фланце корпуса 1 выполнен канал входа газа высокого давления 14. В боковую стенку средней части корпуса вкручен штуцер 3, подающий газ заданного давления на исполнительное устройство регулятора. Величина этого давления определяется с помощью манометра, вкручиваемого в нижнюю часть боковой стенки корпуса 1 вместо пробки 12. В верхней части стакана 7 расположен штуцер 5, через который происходит сброс избыточного давления из полости управляющего давления на свечу. Подпоршневая полость в нижней части корпуса 1 соединена каналом 2 с полостью управляющего давления с целью создания в ней уравновешивающего давления. Настройка на заданный уровень давления осуществляется с помощью винта 6. Двумя гайками редуктор-задатчик РЗ крепится к кронштейну, закрепленному на исполнительном устройстве регулятора давления газа.